春节期间,钓鱼网站、电信诈骗进入高峰。
近日,江民互联网数字资产反假冒系统(简称:江民AFS)监测到金融及电商行业仿冒、钓鱼网站进入爆发高峰,多家耳熟能详的金融机构及电商平台出现大批钓鱼网站。其中包括淘宝、京东、浦发银行、工商银行、中信证券、华泰证券等知名的金融机构、电商平台。此类钓鱼网站不仅给个人带来极大风险,也对机构的声誉和品牌形象造成严重损害。
* 以下是部分钓鱼网站截图 *
华泰证券仿冒网站
浦发银行仿冒网站
京东仿冒网站
淘宝仿冒网站
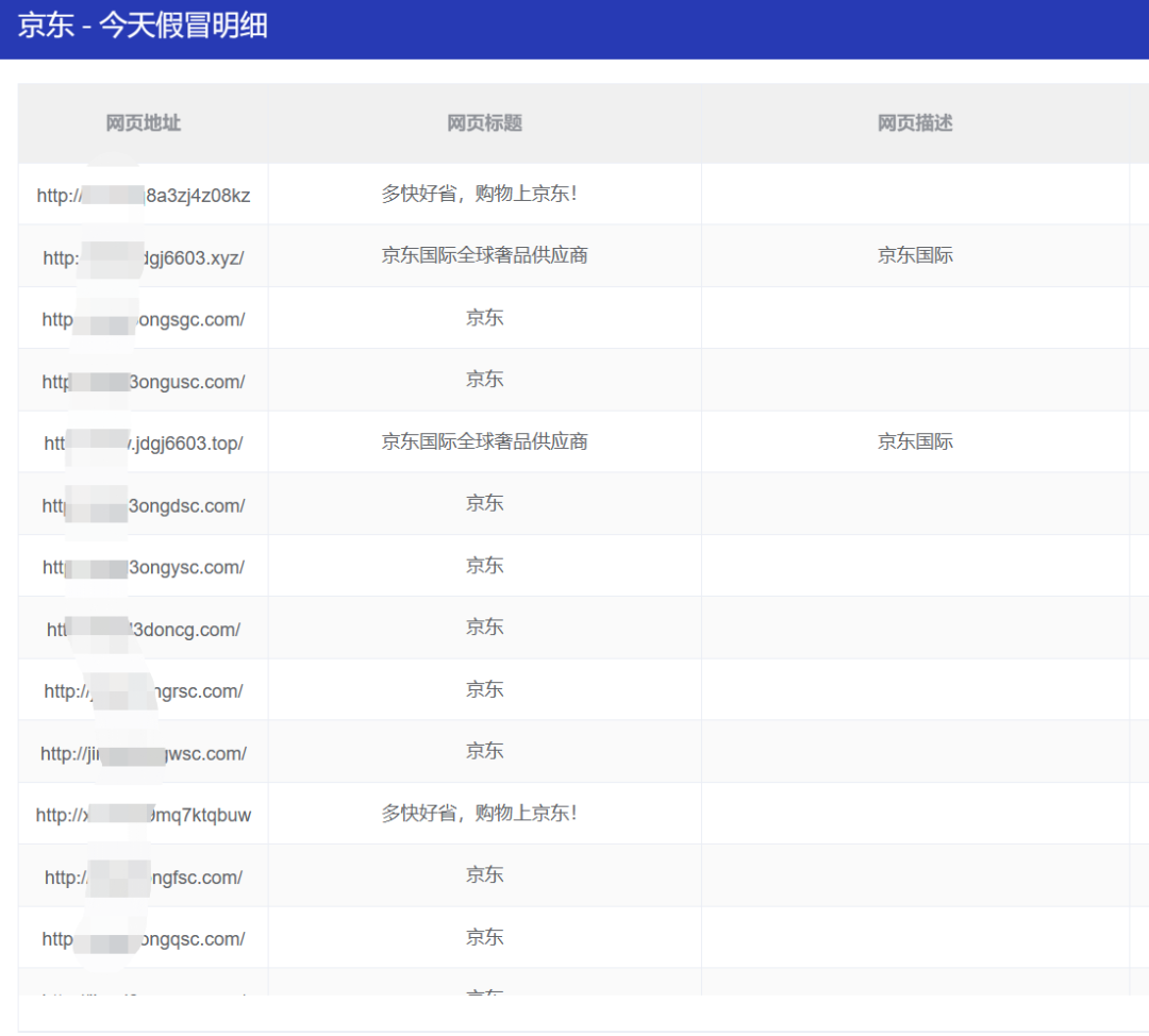
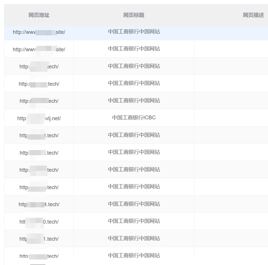
以下列出了部分当天(江民AFS)监测到的钓鱼网站列表
当日监测到的部分工商银行仿冒网站
当日监测到的部分华泰证券仿冒网站
当日监测到的部分京东平台仿冒网站
版面原因,只列出了部分截图。
江民互联网数字资产反假冒系统(江民AFS)旨在帮助政府、金融机构、企事业单位等快速定位发现假冒其网站、公众号、APP的数字资产(也称“钓鱼”),帮助机构减少声誉和资产损失风险。江民科技愿与监管机构、企业携手合作,共同维护个人隐私信息与财产安全,促进互联网金融健康稳定发展。
江民安全专家提醒大家,登录金融、电商类网站时需提高警惕,保护个人信息财产安全。同时我们建议金融平台加强对此类钓鱼网站进行监控,避免对自身品牌形象造成负面影响。
关于江民互联网数字资产反假冒系统(AFS)
江民互联网数字资产反假冒系统(AFS)能够实现对钓鱼网站、仿冒APP、公众号的全面监测、主动发现及快速关停。将多种专业能力有机结合,构建了完备的数字资产仿冒监测及防护支撑能力体系,可以协助客户建立科学高效的数字资产欺诈防范体系,保护互联网公众个人财产和隐私安全,提高互联网金融机构防范钓鱼欺诈水平,促进互联网金融健康稳定发展。详情咨询010-82511818
往期推荐
关于江民
江民科技深耕安全30年,产品多次进入央采和政采目录,涵盖终端防护、移动安全、数据安全、云安全、安全服务等跨多个细分领域,可提供“端、管、云、边”信息安全整体解决方案。产品应用覆盖政府、军队军工、公检法、金融、医疗、能源、教育、制造等各行各业数千万终端,深受党政机关、企业及各行业用户信赖。
扫码关注更多精彩
你们点点“分享”,给我充点儿电吧~